最好看的2018免费观看在线-最好看的2019中文电影-最好免费观看高清视频免费-最近免费中文字幕大全免费版视频

您好!歡迎光臨烜芯微科技品牌官網!

深圳市烜芯微科技有限公司

ShenZhen XuanXinWei Technoligy Co.,Ltd
二極管、三極管、MOS管、橋堆

全國服務熱線:18923864027

  • 熱門關鍵詞:
  • 橋堆
  • 場效應管
  • 三極管
  • 二極管
  • 混合集成電路定義,混合集成電路有哪些
    • 發布時間:2025-07-07 18:33:13
    • 來源:
    • 閱讀次數:
    混合集成電路定義,混合集成電路有哪些
    一、定義
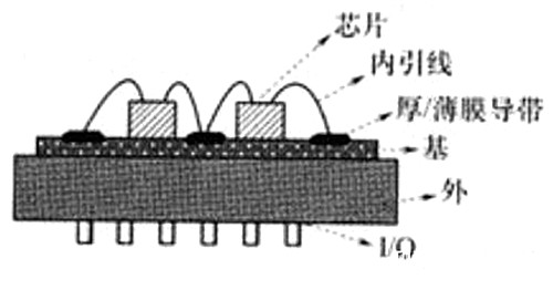
    混合集成電路是一種先進的集成技術,它將采用不同工藝制造的多種電子元件,如半導體器件、陶瓷器件、電阻、電容等集成于同一基板之上。通過金屬線連接或焊接的方式,使這些元件相互協作,共同構建起具備特定功能的電路系統。
    在制造過程中,混合集成電路首先利用成膜方法在基片上制作出厚膜或薄膜元件及其互連線。在此基礎上,將分立的半導體芯片、單片集成電路或微型元件混合組裝于同一基片之上,最后經過外部封裝工序完成整體構造。
    二、功能特點
    混合集成電路(Mixed-SignalIntegratedCircuit,MSIC)融合了數字與模擬電路的功能,能夠同時對數字信號和模擬信號進行處理。常見的混合集成電路包括模數轉換器(ADC)、數模轉換器(DAC)以及混合信號處理器等。
    混合集成電路具有以下顯著特點:
    設計靈活:其設計具有較高的靈活性,能夠較好地滿足多品種、小批量的生產需求。
    元件參數優越:元件參數范圍較寬,精度高,穩定性好,具備承受較高電壓和較大功率的能力。
    高密度互連:隨著多層布線結構和通孔工藝技術的不斷發展,混合集成電路的集成密度和可靠性得以持續提升。
    三、分類方式
    (一)按功能分類
    包括但不限于混合集成放大器、集成頻率源、濾波器、轉換器、功率類等豐富類型。
    (二)按表面厚膜薄膜導帶工藝分類
    可分為厚膜混合集成電路、薄膜混合集成電路。
    混合集成電路
    (三)按布線工藝技術特點分類
    厚膜混合集成電路
    薄膜混合集成電路
    多芯片組件(MCM)
    其中,某些小型控制電路板(PCB)電路,由于其印制電路是以膜的形式在平整板表面形成導電圖形,也被歸為混合集成電路范疇。而隨著多芯片組件(MCM)這一先進混合集成電路的出現,其基板所具有的多層布線結構和通孔工藝技術,使得MCM組件成為混合集成電路高密度互連結構的典型代表。MCM所采用的基板類型多樣,涵蓋薄膜多層、厚膜多層、高溫共燒、低溫共燒、硅基、PCB多層基板等。
    四、應用領域
    混合集成電路主要應用于模擬電路、微波電路領域,同時在一些對電壓、電流要求較高的專用電路中也發揮著重要作用,例如電臺、電子計算機、測試測量設備、航空電子系統以及微波無線電通信等眾多領域。
    〈烜芯微/XXW〉專業制造二極管,三極管,MOS管,橋堆等,20年,工廠直銷省20%,上萬家電路電器生產企業選用,專業的工程師幫您穩定好每一批產品,如果您有遇到什么需要幫助解決的,可以直接聯系下方的聯系號碼或加QQ/微信,由我們的銷售經理給您精準的報價以及產品介紹
    聯系號碼:18923864027(同微信)
     
    QQ:709211280

    相關閱讀