最好看的2018免费观看在线-最好看的2019中文电影-最好免费观看高清视频免费-最近免费中文字幕大全免费版视频

您好!歡迎光臨烜芯微科技品牌官網!

深圳市烜芯微科技有限公司

ShenZhen XuanXinWei Technoligy Co.,Ltd
二極管、三極管、MOS管、橋堆

全國服務熱線:18923864027

  • 熱門關鍵詞:
  • 橋堆
  • 場效應管
  • 三極管
  • 二極管
  • 自動三相交流穩壓電源圖解析
    • 發布時間:2021-04-07 16:49:54
    • 來源:
    • 閱讀次數:
    自動三相交流穩壓電源圖解析
    自動三相交流穩壓電源數控穩壓,準確穩定,精度±1%以內。 合理設計、優質材料、無接觸點、線性穩壓、超載能力強。 輸出電壓過高、過低、欠相、逆相自動偵測,自動報警,自動跳脫。 當關機或停電再復電時,本穩壓器將電壓穩定后再輸出,任何情況下皆不會產生高壓輸出,以保護負載設備。
    什么是自動三相交流穩壓電源
    自動三相交流穩壓電源的工作原理
    自動三相交流穩壓電源
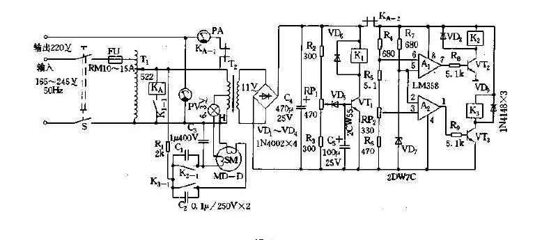
    工作原理:圖 1 所示穩壓電源由主回路、取樣控制電路、驅動伺服系統、過壓檢測及保護電路等組成。帶有滑動臂的自耦變壓器的 T1 作為主回路,其輸入端固定,輸出端由伺服電機 SM、電源變壓器 T2、指示燈 H、取樣控制、驅動電路提供工作電壓。電源變壓器 T2 的初級與 T1 的輸出端并聯,當輸出端電壓發生變化時,T2 的次級電壓也隨之變化。這一變化的電壓經二極管 VD1~VD4 橋式整流,電容 C4 濾波后變為直流加到由 R4~R6、RP2 組成的采樣電路。采樣電路輸出與 R7、VD7 組成的基準電路的基準電壓共同加至電壓比較器 A1、A2 進行比較。若電網電壓過高,超出了本調壓器的調節范圍時,檢測電阻 R2、R3 與 RP1 輸出的電壓值使穩壓二極管 VD5 擊穿,三極管 VT1 導通,繼電器 K1 吸合,其觸點 K1-1 吸合,使交流接觸器 Ka 通電,其觸點 Ka-1 與 Ka-2 均斷開,切斷輸出電壓及采樣控制電路,使伺服電機 SM 停止工作,有效地保護了負載和伺服電機 SM。當電網電壓恢復正常后,輸出自動接通。
    自動三相交流穩壓電源的作用
    自動三相交流穩壓電源的作用是當輸出電壓過高、過低、欠相、逆相自動偵測,自動報警,自動跳脫。 當關機或停電再復電時,本穩壓器將電壓穩定后再輸出,任何情況下皆不會產生高壓輸出,以保護負載設備。
    烜芯微專業制造二極管,三極管,MOS管,橋堆等20年,工廠直銷省20%,4000家電路電器生產企業選用,專業的工程師幫您穩定好每一批產品,如果您有遇到什么需要幫助解決的,可以點擊右邊的工程師,或者點擊銷售經理給您精準的報價以及產品介紹
    相關閱讀