最好看的2018免费观看在线-最好看的2019中文电影-最好免费观看高清视频免费-最近免费中文字幕大全免费版视频

您好!歡迎光臨烜芯微科技品牌官網!

深圳市烜芯微科技有限公司

ShenZhen XuanXinWei Technoligy Co.,Ltd
二極管、三極管、MOS管、橋堆

全國服務熱線:18923864027

  • 熱門關鍵詞:
  • 橋堆
  • 場效應管
  • 三極管
  • 二極管
  • NPN型工作狀態圖解
    • 發布時間:2020-11-04 17:58:06
    • 來源:
    • 閱讀次數:
    NPN型工作狀態圖解
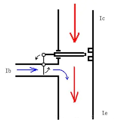
    三極管是一個以b(基極)電流Ib 來驅動流過CE 的電流Ic 的器件,它的工作原理很像一個可控制的閥門。
    NPN型工作狀態
    1
    左邊細管子里藍色的小水流沖動杠桿使大水管的閥門開大,就可允許較大紅色的水流通過這個閥門。當藍色水流越大,也就使大管中紅色的水流更大。如果放大倍數是100,那么當藍色小水流為1 千克/小時,那么就允許大管子流過100千克/小時的水。三極管的原理也跟這個一樣,放大倍數為100 時,當Ib(基極電流)為1mA 時,就允許100mA 的電流通過Ice,Ie=Ib+Ic。
    NPN型三極管的三個工作狀態講解
    首先我們應該知道三極管有三個狀態。
    分別為截止狀態、飽和狀態和放大狀態。
    三極管在飽和狀態和截止狀態時都具有放大效應。
    接下來我們以NPN型三極管為例,分別講解一下這三個狀態。
    這三個狀態你都明白了,三極管的放大效應你自然會明白是怎么回事了。
    截止狀態
    簡單來說,我們可以把B極斷開看做是截止狀態,如下圖所示的這種狀態,此時三極管不導通,C極電位和電源電壓一樣是12V。
    截止狀態很好理解,我在這里不再多做闡述。
    飽和狀態
    由于每一個三極管的放大倍數都不一樣,每一種型號的三極管都有差別,所以現在我們不指定某一型號的三極管,只是闡述它們都遵守的這個原理,這樣,你原理搞明白了,再去看的話,都就懂了。
    這時候我們給B極接上5V電源,然后中間串聯一個阻值很大的電阻,你可以把這個電阻想象成無窮大
    NPN型工作狀態
    2
    然后我們然電阻R1的阻值慢慢變小,這時候流過的電流就會慢慢的變大,直到這個三極管被喚醒。
    被喚醒之后,三極管的CE極就會有電流通過,但是比流過BE極的要大的多,比如說BE流過的電流是1ma,這時候CE極流過的就是100ma,這也是三極管放大效應一種。
    然后我們繼續讓BE間的電流增大,那么CE極會跟著放大嗎?
    答案是會的,但不是一直放大,因為把12V都給了上面那個電阻是這個電路可以得到的最大的值。
    直到BE極間的電流增大到某一個值之后,CE極間電流不再變化,我們就稱三極管此時達到了飽和狀態。
    就像鹽水一樣,最開始我們把鹽放到水里面,鹽會溶于水,但是隨著我們鹽投入的越來越多,直到某一時刻,鹽不再溶于水了,水里面出現結晶了,我們就說鹽水飽和了,三極管的飽和和這個道理是一樣的。
    放大狀態
    我們這時候固定R1不變,也就是流過B極的電流不變。
    我們把12V慢慢變大,最開始由于電源的增大,流過CE的電流慢慢變大。
    NPN型工作狀態
    3
    如果一直增大的,后面會有一個值,無論我們怎么增大電源,這一路的電流都不會變化了,為什么呢?
    因為三極管讓電源增大的電壓,施加給了它自己,此時CE之間電壓會增大,它之所以增大,是為了保持整個電路的電流保持不變,,比如說電源從12V-20V之間變化時,流過這一路的電流會保持恒定,這就是三極管的放大狀態。
    再往后就不能再增大電源了,因為三極管是有耐壓的,比如說增大到40V,這時候三極管可能會被擊穿,造成永久性的損壞!
    烜芯微專業制造二極管,三極管,MOS管,橋堆等20年,工廠直銷省20%,4000家電路電器生產企業選用,專業的工程師幫您穩定好每一批產品,如果您有遇到什么需要幫助解決的,可以點擊右邊的工程師,或者點擊銷售經理給您精準的報價以及產品介紹
    相關閱讀