最好看的2018免费观看在线-最好看的2019中文电影-最好免费观看高清视频免费-最近免费中文字幕大全免费版视频

您好!歡迎光臨烜芯微科技品牌官網!

深圳市烜芯微科技有限公司

ShenZhen XuanXinWei Technoligy Co.,Ltd
二極管、三極管、MOS管、橋堆

全國服務熱線:18923864027

  • 熱門關鍵詞:
  • 橋堆
  • 場效應管
  • 三極管
  • 二極管
  • TVS管特性參數與選型注意事項
    • 發布時間:2020-04-29 14:16:21
    • 來源:
    • 閱讀次數:
    TVS管特性參數與選型注意事項
    瞬態電壓抑制器(TVS)是一種由二極管陣列組成的電路保護器件,有的還集成有穩壓二極管,如士蘭微電子SU0514PG。TVS具有響應速度快,箝位電壓低,電壓精準等優點,廣泛應用于對保護器件要求較高的場合,如汽車電子、工業控制、照明、通信等行業,如HDMI接口、VGA接口、USB端口、以太網接口、DC電源線、RS485接口、通信電源等。
    TVS特性參數
    TVS管可在電路出現異常過電壓并達到TVS(雪崩)擊穿電壓時突變為低電阻狀態,泄放瞬時過電流到地,把異常過電壓箝位在較低水平,從而保護后級電路免遭異常過電壓的損壞。當異常過電壓消失后,TVS阻值又恢復為高阻態。
    TVS管
    TVS 電路保護原理簡圖
    根據TVS伏安特性曲線,表征TVS特性的參數主要有:
    IPP —— 峰值脈沖電流
    IPPM —— 額定峰值脈沖電流
    VC —— 箝位電壓
    VBR —— 擊穿電壓
    IT —— 脈沖直流試驗電流
    VRWM —— 最高工作電壓
    IR —— 漏電流(待機電流)
    IF —— 正向直流電流(正向測試電流)
    VF —— 正向壓降(正向直流電壓)
    IFSM ——正向不重復峰值電流(浪涌電流)
    與其他過壓保護器件相比,TVS具有較低的動態內阻,箝位電壓低,響應速度較快,工作電壓3.3V~600V甚至更高。在10/1000μs波形下,TVS瞬態功率可達200W~30000W,甚至更高。在8/20μs波形下,TVS瞬態峰值脈沖電流可達3kA、6kA、10kA、16kA、20kA甚至更高。
    TVS管
    TVS伏安特性曲線
    TVS選型注意事項
    選擇TVS時,應根據應用環境,重點考慮VRWM、額定瞬態功率、箝位電壓、漏電流、結電容和封裝形式等極限參數。
    (1)最高工作電壓VRWM:TVS的截止電壓應大于被保護電路的最高工作電壓。這樣才能保證TVS在電路正常工作下不會影響電路工作。但是TVS的工作電壓高低也決定了TVS鉗位電壓的高低,在截止電壓大于線路正常工作電壓的情況下,TVS工作電壓也不能選取的過高,如果太高,鉗位電壓也會較高,所以在選擇VRWM時,要綜合考慮被保護電路的工作電壓及后級電路的承受能力。
    (2)額定瞬態功率:PPPM與IPPM成正比,IPPM越大,PPPM也越大。實際選型中,TVS應留有一定的裕量,TVS的功率PPPM選擇應遵循PPPM≥Pactual。
    (3)VC箝位電壓:TVS箝位電壓應小于后級被保護電路最大可承受的瞬態安全電壓,大多數TVS的VC與VBR及IPP都成正比。對于同一功率等級的TVS,其擊穿電壓越高VC也越高。
    (4)IR漏電流:在一些低功耗電路或高精度采集電路中,IR過大可能導致電路功耗過大或信號的采集精度超標。因低壓(VRWM<10V)TVS的IR較大,如果后級電路耐受能力較強的話,盡量選擇10V或以上的TVS;如果后級電路耐受能力不足,需要選擇小IR且低電壓的TVS。
    (5)結電容:TVS的結電容一般在幾十皮法至幾十納法。對于同一功率等級的TVS,其電壓越低,電容值越大。在一些通信線路中,要注意TVS的結電容,不能影響電路正常工作。
    (6)封裝形式:TVS的功率從封裝形式上也可以體現,封裝體積越小,其功率一般也越小,因為TVS的芯片面積直接決定了TVS的功率等級。
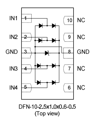
    TVS管
    烜芯微的SU0514PG超低電容TVS
    例如,烜芯微的的SU0514PG是一款4通道電壓軌箝位型超低電容TVS器件,并集成了一個穩壓二極管,目標應用為高速數據傳輸線的ESD保護,例如平板顯示器和機頂盒中的HDMI接口、VGA接口、USB端口、以太網接口等保護。
    烜芯微專業制造二極管,三極管,MOS管,橋堆等20年,工廠直銷省20%,1500家電路電器生產企業選用,專業的工程師幫您穩定好每一批產品,如果您有遇到什么需要幫助解決的,可以點擊右邊的工程師,或者點擊銷售經理給您精準的報價以及產品介紹
    相關閱讀