最好看的2018免费观看在线-最好看的2019中文电影-最好免费观看高清视频免费-最近免费中文字幕大全免费版视频

您好!歡迎光臨烜芯微科技品牌官網!

深圳市烜芯微科技有限公司

ShenZhen XuanXinWei Technoligy Co.,Ltd
二極管、三極管、MOS管、橋堆

全國服務熱線:18923864027

  • 熱門關鍵詞:
  • 橋堆
  • 場效應管
  • 三極管
  • 二極管
  • 快恢復二極管的結構是怎么樣的
    • 發布時間:2019-12-09 16:36:06
    • 來源:
    • 閱讀次數:
    快恢復二極管的結構是怎么樣的
    快恢復二極管
    快恢復二極管PIN結構示意圖
    如上所示:快恢復二極管是在常規的功率二極管基礎上,在器件設計與制作工藝上采用少子壽命控制技術等改善二極管的工作特性而得到。二極管結構剖面如圖1a所示,由兩個重摻雜去(P+和N+)及中間間隔的輕摻雜區(N-)組成。
    二極管PN結構詳解
    如果半導體內存在一個物理界面,界面兩側分別是P型半導體和N犁半導體,則在界面附近會形成一個極薄的特殊區域,稱為PN結。PN結并不是簡單的P型和N型半導體材料壓合在--起,它是根據“雜質補償”的原理,采用合金法或平面擴散法等半導體工藝制成的。雖然PN結的物理界面把材料分為P區和N區,但整個材料仍然保持完整的晶體結構。
    當一塊P型半導體與一塊N型半導體結合時,P區的空穴濃度遠大于N區,N區的電子濃度遠大于P區,存在著很大的載流子濃度差。P區的空穴向N區擴散,與N區的電子中和,N區的電子向P區擴散,與P區的空穴中和,界面附近,P區留下了帶負電的負離子,N區留下了帶正電的正離子,形成了空間電荷區,這個空間電荷區稱為PN結,如圖2-1所示。由于空間電荷區內無載流子,所以叫耗盡層。隨著PN結的形成,建立了PN結電場。這個電場稱為內電場,向由N型區指向P型區。
    快恢復二極管
    圖2-1 PN結的空間電荷區結構
    快恢復二極管PN的結構PIN的結構說明
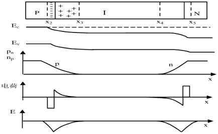
    所謂PIN二極管是由重摻雜的P型區和N型區之間夾一接近本征型的高電阻率I層構成,其·般結構,其一般結構如圖2-2所示。I層厚度由反向耐壓和正向電流決定,在熱平衡時的能帶圖、載流子分布、空間電荷及電場分布如圖2-2所示。
    快恢復二極管
    圖2-2 PIN二極管的結構、能帶、載流子分布空間電荷機電場分布
    PIN結構優勢
    p-i-n結快恢復二極管的有效作用區主要就是存在有電場的i型層(勢壘區),則產生光生載流子的有效區域增大了,擴散的影響減弱了,并且結電容也大大減小了,所以其光檢測的靈敏度和響應速度都得到了很大的提高。
    烜芯微專業制造二極管,三極管,MOS管,橋堆20年,工廠直銷省20%,1500家電路電器生產企業選用,專業的工程師幫您穩定好每一批產品,如果您有遇到什么需要幫助解決的,可以點擊右邊的工程師,或者點擊銷售經理給您精準的報價以及產品介紹
    相關閱讀